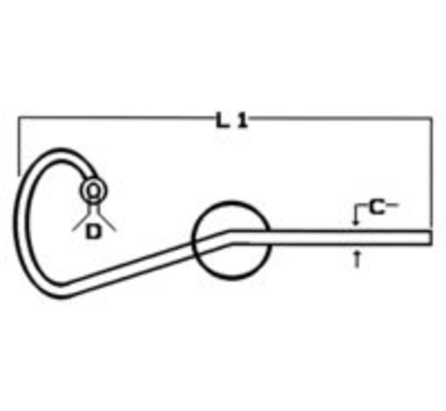
Rvs sliphaak 1/2 met oog 13mm
• RVS AISI 316
• incl. Ring
• RVS AISI 316
• incl. Ring

78,95 73,42 Toevoegen aan winkelwagen
Onze medewerker helpt je graag bij het vinden van het juiste product
Er zijn nog geen reviews geschreven over dit product.
-7% Sale
€78,95 73,42
Deliverytime
-10% Sale
€1.919,10 1.727,15
Deliverytime
-6% Sale
€403,40 380,16
Deliverytime
0% Sale
€18,30 18,30
Deliverytime
-11% Sale
€110,69 98,26
Deliverytime
You can compare a maximum of 3 products
Een moderne en krachtige acculader. De juiste hoeveelheid lading: variabele absorptietijd. BatterySafe-modus: beperken van schade door overmatige gasvorming. Opslag-modus: minder onderhoud en veroudering als de accu niet wordt gebruikt Meer informatie
Lido Pro Roerstandaanwijzer Meer informatie