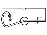
Rvs sliphaak 5/16 met oog 8mm
• RVS AISI 316
• incl. Ring
• RVS AISI 316
• incl. Ring

16,13 13,99 Toevoegen aan winkelwagen
Onze medewerker helpt je graag bij het vinden van het juiste product
Er zijn nog geen reviews geschreven over dit product.
-13% Sale
€16,13 13,99
Deliverytime
-16% Sale
€19,11 16,01
Deliverytime
-9% Sale
€51,04 46,57
Deliverytime
0% Sale
€129,- 129,-
Deliverytime
-9% Sale
€1.626,48 1.484,-
Deliverytime
You can compare a maximum of 3 products
Spoelbak RVS, Recht, Inwendig 300x150mm, Uitwendig 320x170mm, Diepte 150mm, Afvoer-slangaansluiting Ø25mm ( 90º ) haakse afvoerset Meer informatie
W3 Jerkbait-T 2nd 6'6"/195cm H 20-80g 2sec Meer informatie
SAE-2 Flens Technodrive voor TM265(A) met 11 1/2 Centa DS Meer informatie