Schroefas RVS AISI 329 Diameter 20 mm conus 1:10 | Inc Dopmoer / Zinkanode / RVS Borgring / RVS Spie
Allpa schroefas gemaakt van RVS AISI 329, wordt geleverd met een dopmoer, zinkanode, RVS borgring en RVS spie. Verkrijgbaar in verschillende lengtes: 1000 mm, 1500 mm, 2000 mm, 2500 mm.
RVS spie afmetingen (LxBxH): 6 x 6 x 30 mm
Dopmoer met zinkanode en RVS borgring: schroefdraad M12 x 1,5
Wat is een conus?
De conus is een erg belangrijk aspect bij het kiezen van de juiste schroefas. De conus is de taps toelopende vorm van het uiteinde van de schroefas waar de schroef wordt bevestigd. De verhouding 1:10 betekend: over een afstand van 10 mm loopt hij 1 mm taps toe.
Hoe meet ik de conus op?
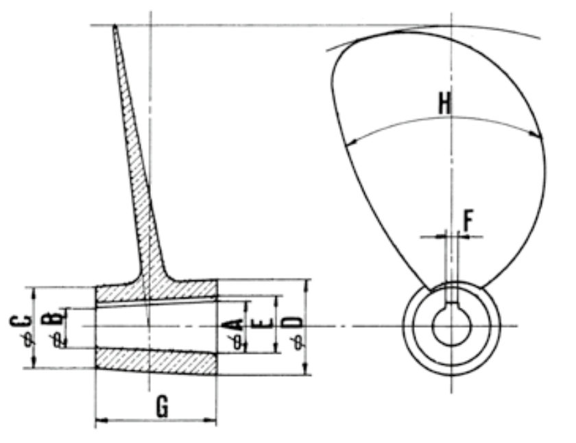
De Allpa schroefas Ø20 mm heeft een conus van 1:10, dit kun je nameten op de schroefas en op de juiste bijpassende schroef. De maten van de schroefas worden weergegeven in het onderstaande schema. De A in het schema geeft de diameter van de schroefas weer. De B geeft het einde van de conus weer en de G geeft de lengte van de conus weer. Als je de achterkant van de schroef of schroefas meet en deze is (B) mm en de voorkant van de schroef of schroefas meet en deze is (A) mm over een lengte van (G) mm, dan weet je dat je een conus hebt van 1:10.

| A | B | D | E | C | G | F |
| 20 | 15,8 | 35 | 22,7 | 30 | 42 | 6 |










